有消息稱,本周二美國專利商標局公布了蘋果的一個新專利,內容是使iPhone上能夠安裝可更換式相機鏡頭。難道蘋果iPhone6將支持更換鏡頭?
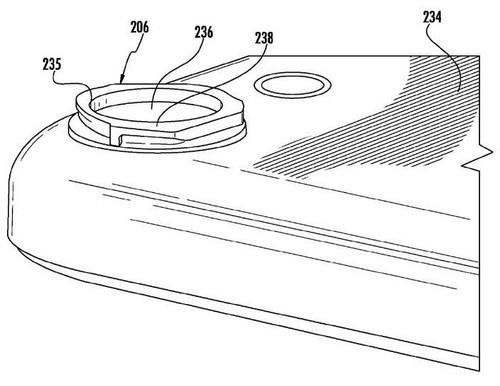
在該專利細節描述中談到,該係統能使鏡頭通過卡口連接附加鏡頭,感覺類似于可更換鏡頭的相機,當然,手機如此小的鏡頭的卡口應該也不會很大,安裝的鏡頭也最有可能是適配于手機的相對迷你的鏡頭。

曝蘋果鏡頭卡口專利(圖片引自techspot)
據蘋果稱,卡口比磁貼、架子或粘合劑等更實用,能夠固定在正確的位置並不松動。
在近期的消息中曝出iPhone6的攝像頭有可能會向外凸出,不知是否會與此有關。不過個人猜測,短時間內蘋果還不會將該專利運用到手機生產當中,一旦運用,蘋果有可能會自己同時生產一批能夠適配這樣的iPhone的鏡頭配件,那麼,其利潤來源就又增加了。
[責任編輯: 林天泉]