亞馬遜無人機新專利:能理解手勢、語言的空中郵差

亞馬遜無人機新專利:能理解手勢、語言的空中郵差。(圖片來源:臺灣東森新聞雲)
中國臺灣網3月27日訊 據臺灣東森新聞雲報道,無人機遙控器操作難度高?或許你可以揮舞雙手就讓它停下來,在亞馬遜最新公開的專利申請中,他們希望能藉由人類的肢體動作以及聲音指令,讓送貨無人機做出相對的反應,其中語音操控可能會帶給無人機的操控更多想象空間。
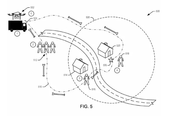
據報道,該項專利于2016年7月提交,直到本周正式公布,內容描述,藉由肢體與聲音,操作者得以與機器進行溝通。例如,透過揮舞雙手要無人機停止靠近,或者是在固定的地點降落,此外在專利圖片上,人物的對話框讓人猜測,似乎暗示著語音操作的可能性,不過目前並沒有進一步信息,也不曉得無人機可以收聽指令的確切距離。
手勢操作無人機並不是新想法,去年推出的DJI Spark透過手勢完成自拍,三星的無人機則藉由偵測眼球移動進行操作,不過亞馬遜的專利顯然是針對快遞服務而來,未來收件者在看到無人機之後,或許能進一步對降落的位置下達指令,減低貨物損害以及發生意外的可能性。
美國專利商標局已許可該專利技術,至于何時會正式使用相關產品則不得而知,亞馬遜並沒有透漏相關消息,不過此專利可以推測是空中快遞計劃的一環,先前亞馬遜就曾申請以巨型飛艇當作空中倉庫的專利。(中國臺灣網 王怡然)

亞馬遜無人機新專利:能理解手勢、語言的空中郵差。(圖片來源:臺灣東森新聞雲)


