
檢測完車輛外觀,二手車平臺檢測人員準備為車輛拍照申請“上線”。

二手車平臺檢測人員掀開引擎蓋觀察車輛內部情況。

3月14日,二手車平臺檢測人員正在檢測一輛“調表車”。

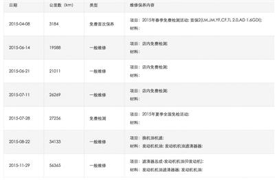
維修記錄顯示,被檢測車輛里程數已達56365公里。

維修記錄顯示,被檢測車輛里程數已達56365公里,而車速拍平臺上顯示的里程數為調後的17000公里(圖)。
二手車平臺隱瞞“調表車”真實里程
明知調表仍可正常“上線”,律師稱該行為涉嫌與賣家共謀欺詐;專家建議第三方檢測機構介入
孫田(化名)沒想到,通過瓜子二手車平臺購買的“準新車”,差點發生事故。
去年6月,他駕車在廣州南沙港快速路上行駛時,車子的時速由110公里瞬間降至60公里,油門完全失去反應。幸好,後方車輛急速剎車,才避免追尾事故。
回憶此事,孫田仍心有余悸。這輛花6.6萬元購買的北汽紳寶汽車,平臺標注顯示,上牌8個月,里程數為9166公里。
剛買了半個月的車,就發生故障。孫田將車送到4s店檢修,維修保養記錄顯示,該車實際行駛里程已超過5萬公里。
“平臺宣稱經過259項全車檢測,竟然連‘調表車’也測不出?”孫田將二手車平臺和原車主告上法庭。
事實上,“調表車”通過檢測,上線二手車平臺,並非難事。
新京報記者近日調查發現,一些二手車平臺宣稱,對車輛進行超百項專業檢測,但消費者在平臺上,無法直接看到所有車況信息,一些平臺甚至隱瞞車輛真實里程數。
15分鐘完成上百項檢測
5萬公里改成9千公里,仍能通過上百項檢測。二手車交易平臺真的連“調表車”都發現不了嗎?
在瓜子二手車官網首頁上,“259項檢測”的廣告語格外引人注目。網站介紹,檢測項目為原奧迪中國二手車業務總監領銜制定,評估師團隊“考核上崗,經驗豐富”。
人人車二手車平臺也宣稱“通過249項專業檢測”,並明確標注“100%個人車源”、“雙重檢測無重大事故”、“一年兩萬公里質保”、“14天內可退車”。
近日,新京報記者以賣家身份,多次體驗二手車平臺的驗車情況。
3月11日,順義俸伯地鐵站附近,人人車和瓜子二手車的檢測人員分別對一輛大眾途觀車進行檢測。
下午3時許,人人車的檢測人員到達約定地點。了解完車輛基本信息後,對方從雙肩背包中掏出手電筒,先後觀察了車輛發動機艙、底盤、車身等設備情況。之後,檢測人員掏出一臺普通手機大小的膜厚測試儀,測試車身各個位置噴漆的厚度。
“是實表嗎?”檢測到里程表時,上述工作人員問道。得到肯定答復後,他記錄下汽車里程表上顯示的公里數。
約15分鐘後,車況檢測完畢。檢測人員對車輛的各個角度拍照,並申請上線。
次日,車輛成功上線,平臺對于車況檢測的描述為:資深行業權威專家對此車前後兩次專業檢測,檢測項目為249項。
11日下午4時許,瓜子二手車兩位工作人員也對這輛途觀車進行檢測,所帶的檢測設備也為手電筒和膜厚測試儀。
此前,其中一位檢測人員表示,車輛檢測包括里程表核實,“我們會查詢車輛維修保養記錄,來核實里程數。”但實地檢測時,兩人並未核驗。
對于“調表車”情況,3月12日,承諾“158項檢測”的優信二手車平臺一名客服人員介紹,由于車輛是特殊商品,無法精準了解里程數。“根據平臺服務規定,里程數不在我們的保障范圍內,(里程)表上顯示多少就是多少。”
一位在4S店專門從事汽車售後服務的資深人士介紹,大部分二手車平臺檢測水平還停留在比較粗放的狀態,如憑經驗判斷外觀、口頭詢問等手段。而多數車輛的里程數,僅需通過查詢車架號或者調取4S店保養記錄即可核實。
“調表車”當天上線交易平臺
在多次體驗調查中,新京報記者發現,二手車平臺還存在檢測出里程表異常也不標注的情況。
3月14日,記者又使用一輛索納塔轎車預約了瓜子二手車檢測。
檢測人員先後檢查了車輛外觀、內飾、引擎蓋內部、後備廂等部位,並使用膜厚測試儀測試車漆厚度。之後,對方將車輛行駛證上標注的車架號輸入手機內一個軟件,軟件明確顯示該車里程數異常。
事實上,這輛用于檢測的索納塔轎車確實為“調表車”——經查詢該車的4S店維修記錄,2015年11月29日時,該車的里程數就達到56365公里,但檢測時,此車里程表上顯示的里程數僅為17000公里。
檢測人員表示,車輛里程數有改動,上線後會標明。此外,因車輛過戶時間較短,只能上線瓜子旗下的車速拍平臺。
意外的是,當晚車輛上線後,平臺上顯示的里程數為調試後的17000公里,且並未注明有改動或異常。
3月15日,車速拍工作人員致電,稱有消費者出價想要購買,拍價為12.8萬,如對此價格滿意,可盡快安排買家看車。
即將進入交易流程的“調表車”會標注真實情況嗎?對方介紹,該車里程數就是此前檢測中里程表所顯示的數字,平臺上“沒有做其他說明和標注”。
隨後,記者又以買家身份致電客服,咨詢該車車況。客服人員在查詢車輛單號後也表示,評估結果顯示,車輛里程沒有調過。
而唯一有可能查到調表情況的4s店維修記錄等詳細車況服務,在平臺上變成了付費查詢。即買車人的競拍價格達到車主的心理預期時,才能免費查看,否則需要先在平臺至少充值1000元,再花費10元查詢。“為何查看車輛信息還要額外花錢?”有消費者提到。
“改里程”佔二手車糾紛一半比例
剛買了半個月的“準新車”險釀事故,孫田發現車輛里程調小了4萬多公里。對車輛重新評估後,他認為該車的實際價值約5萬元,要求平臺退還1.6萬元差額並為車輛做一次大保養。
與瓜子二手車售後進行交涉時,他被明確告知,平臺不負責。“讓我直接和原車主交涉,但對方根本不承認改里程一事”。
交涉無果後,去年7月,他向廣東省消委會投訴。省消委工作人員與瓜子網取得聯係,對方表示,可以確定原車主調了里程表,公司願意承擔相應責任,免去孫田購車手續費,並免費為車輛做一次保養(約三千元)。至于發動機異響和變速箱有故障,則雙方約定到4S店檢測,確認有問題後願意承擔相應責任。
據廣東省消委會通報,對于退還多余購車款問題,瓜子二手車承認平臺有一定過失,但主要責任在于原車主,願意配合走法律途徑。
孫田將原車主和瓜子二手車起訴到廣州市越秀區人民法院。去年11月11日,法院出具的民事裁定書顯示,瓜子二手車公司所在地為北京市豐臺區人民法院管轄,因此,瓜子二手車提出管轄權異議,要求將本案移送北京,法院予以支持。
“在廣州打官司已經耗費了太多精力和費用,再去北京打,維權成本太高了。”孫田介紹,已向廣州市中級人民法院提起上訴,希望能在當地審理。“目前還沒什麼結果。”
實際上,隨著二手車電商平臺興起與互聯網購車增加,二手車交易也糾紛不斷。北京市二中院通報,所售車輛存在更改里程表情況,佔二手車涉質量爭議的50%。此外,爭議案件還涉及所售車輛為涉水車、重大事故車等情況。
“部分平臺為促成交易或縱容作假”
“確實存在二手車平臺為了促成交易而縱容作假的情況”。戈壁投資合夥人、出行市場資深投資人徐晨表示,這在線下也很普遍,比如改公里數,做“特殊安排”,本質上是為了促成交易。
其介紹,在二手車的交易模式中,平臺的主要作用在于撮合交易,並不能完全掌握車主的“造假”行為,但與此同時,其也在一定程度上承擔了評估師的角色。
徐晨分析,如果平臺的利潤來自交易本身,就有很強的動機去促成交易。“既像裁判又像運動員,這使得他們可能會有一些操縱和縱容行為。”
而里程數據對于交易是否達成有一些影響。徐晨說,比如同樣是三年的車,開了5萬公里和8萬公里差別就很大,短期內跑了較多里程的可能是商用車,損壞率相對較高,車主可能養護得不那麼“用心”,里程數較少的則可能是家用車,一般車況偏好。
此外,平臺本身也沒有太高的利潤去做精細的檢測,再加上買車人對于車性能不了解,盲目追求低價,也使得賣家和平臺有很強的動機去修改或者隱瞞數據。
從投資人的視角來看,徐晨認為很多平臺起到的作用並不是特別明晰,多數平臺還是在做簡單的信息交互。從長期來看,這進一步引導用戶進入“價格領導型”的誤區,將是一個惡性市場。
也就是說,平臺更多地側重宣傳交易量,甚至做假來誘導消費者,並吸引投資人。“目前市場上確實存在交易量不真實的情況,有些平臺水分高達20%-30%。”
徐晨說,長此以往,買家發現所購車輛並不理想,可能會對二手車平臺的業務模式產生質疑,“那對于整個市場的傷害是很大的。”
中國汽車流通協會副秘書長羅磊認為,對于未檢測準確的交易車輛,二手車平臺要迅速響應,不能推諉責任。同時,如果有第三方專業機構介入交易,可能會優化市場。他建議二手車平臺多使用第三方車輛背景信息查詢係統,來查詢車輛保養和維修記錄,比如是否泡水,是否有過重大事故等。
車商稱100元就能改里程
一方面,二手車平臺“把關不嚴”,另一方面,修改里程表並非難事,且成本極低。“這也為不法車商和為抬高車價的車主,提供了可乘之機。”多位資深司機和業內人士表示,如果車輛一直在4S店做保養,會留有保養記錄。但如果一直在私人修理廠保養,則很難有記錄可供查詢。
記者探訪發現,線上、線下均有改里程服務,費用只需50元到300元。
3月7日,北京花鄉二手車交易市場,一位車商透露,二手車里程表修改比較普遍,因此在收購車輛時,並不能簡單把里程表顯示指數作為參考,還需要對輪胎、方向盤、剎車片磨損程度等做綜合判斷。
其介紹,私人車主自己修改里程的較少,但部分二手車商為了抬高價格,會根據車輛情況進行修改。
對于隱藏有二手車販子的平臺,徐晨認為,部分小平臺和黃牛車商之間可能達成了一些“默契”,平臺為了加大交易量,只要沒有重大事故,可能會適當放水,有些黃牛則會在交易達成後給平臺“返利”。
上述車商介紹,修改里程不能任性而為,“理論上調成0公里也能實現,但這會引起消費者懷疑,一般私家車一年的里程數約為20000公里,只需要根據車輛使用年數在這一范圍內適度修改即可。”其表示,修改服務價格為200元。
另一位在交易市場門口舉著“收車”牌子的工作人員稱,他們的修理廠也可以改里程,只需100元。
在線上,記者通過淘寶網搜索“里程表修改”,立即出現大量針對不同品牌可提供修改服務的商家,價格為50元到300元不等。
河北省張家口的一位商家號稱,大眾車、奧迪車都能改,2分鐘完成,可以往前或往後修改,費用為100元1次。
其透露,改里程通過專業電子儀器插進OBD(ON BOARD DIAGNOSTICS車載自動診斷係統)接口實現,直接輸入數值,“想改多少就改多少”。
“調里程或涉嫌違法犯罪”
“二手車調低里程表”幾乎成了“公開秘密”。據了解,此行為不但可能導致買賣糾紛,同時極易引發違法犯罪。
《計量法》規定,破壞計量器具準確度和偽造數據,給國家和消費者造成損失的,可責令賠償損失,沒收計量器具和違法所得,並可處2000元以下罰款。相關部門將加強對此類不法行為的打擊力度,構成犯罪的,一旦發現,嚴厲打擊。
“二手車交易平臺的作用是為賣家發布信息,並促成買賣雙方達成協議。”北京二中院法官提到,平臺在提供居間服務時,需向買家如實提供準確車況和全面履行檢驗義務,如存在沒有如實披露或存在故意隱瞞,買賣雙方一旦發生糾紛提起訴訟,平臺可能會被判承擔一定責任。
中聞律師事務所池芬芳律師表示,《消費者權益保護法》第四十四條第二款規定:網絡交易平臺提供者明知或者應知銷售者利用其平臺侵害消費者合法權益,未採取必要措施的,依法與該銷售者或服務者承擔連帶責任。
北京才良律師事務所王才亮律師提到,二手車平臺上線虛假里程車的行為,涉嫌與賣家共謀欺詐,需承擔民事上的連帶責任,消費者有權要求撤銷合同,並要求由平臺和賣方共同賠償其經濟損失;此外,消費者可以向市場監管部門要求追究平臺的行政責任,對此類行為進行查處並進行罰款。
採寫/新京報記者 趙凱迪 盧通 王鵬 李禹潼
圖片/新京報記者 黃銳毅
[責任編輯:郭曉康]