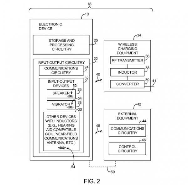
據報道稱,美國專利商標局近日公布了一項名為“帶有共享電感電路、可無線充電的電子設備”的專利申請文件,其宣稱未來的蘋果設備可能會包含多種電子元器件,可以用于完成為設備內部的揚聲器提供電能、提供NFC功能、通過無線技術對設備充電等任務。

蘋果新品發布在即 iOS無線充電申專利(圖片引自cnbeta)
關注蘋果的用戶不難發現,蘋果一直未停止對iPhone、iPad以及MacBook等產品的電池表現,並開發各種技術提高電池使用效率或者為設備提供更便利的充電方法。

蘋果新品發布在即 iOS無線充電申專利(圖片引自cnbeta)
專利申請中的圖片顯示,其專利技術適用的設備看起來猶如一塊手表,也就是傳說中即將發布的iWatch。但蘋果方面稱,其不僅限于此,還將適用于包括手機、平板電腦等在內的多款蘋果產品。

蘋果新品發布在即 iOS無線充電申專利(圖片引自cnbeta)
值得一提的是,專利申請文件中,不止一次的提到NFC,據稱,其將用于無線支付和安全應用。但同其他專利一樣,該專利將不會在本次秋季新品發布會中出現。
[責任編輯: 林天泉]